基于无人机地理信息视频技术的自然资源调查外业核查方法 |
| 王云凯, 李安民, 林楠, 曹易杰 |
|
A method for field inspection of natural resource surveys using UAV-based geographic information video technology |
| WANG Yunkai, LI Anmin, LIN Nan, CAO Yijie |
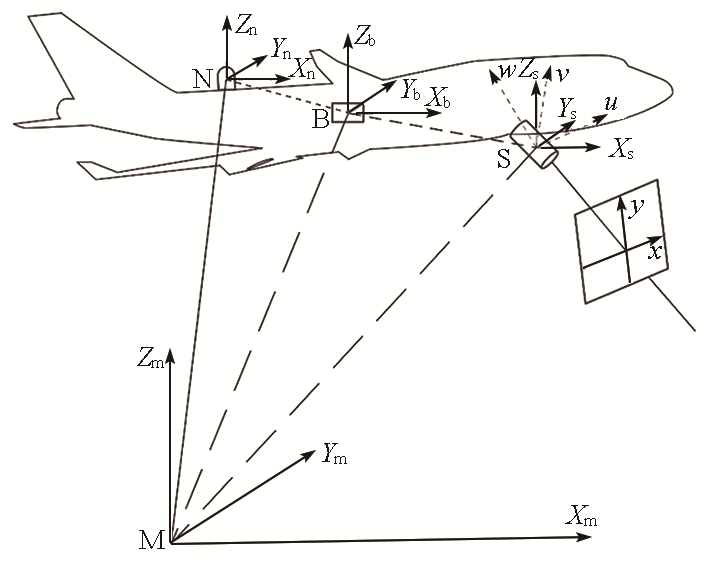
| 图2 无人机集成关系示意图 |
| Fig.2 Illustration of the UAV integration relationship |
|