高维上下文注意和双感受野增强的SAR船舶检测 |
| 郭伟, 李煜, 金海波 |
|
Detecting ships from SAR images based on high-dimensional contextual attention and dual receptive field enhancement |
| GUO Wei, LI Yu, JIN Haibo |
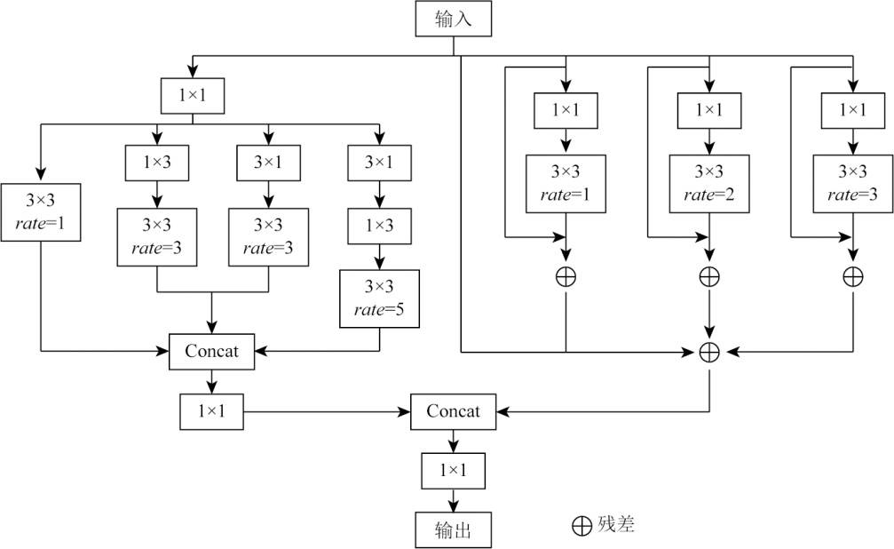
| 图3 双感受野增强结构 |
| Fig.3 Dual receptive field enhancement structure |
|