一种结合孪生倒残差与自注意力增强的遥感影像变化检测方法 |
| 张荞, 曹志成, 沈洋, 汪宙峰, 王成武, 许嘉欣 |
|
A method combining the siamese inverted residual structure with self-attention enhancement for change detection based on remote sensing images |
| ZHANG Qiao, CAO Zhicheng, SHEN Yang, WANG Zhoufeng, WANG Chengwu, XU Jiaxin |
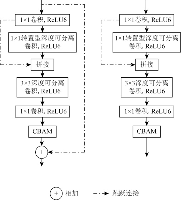
| 图2 改进型倒残差模块 |
| Fig.2 Improved inverse residual module |
|